Skip to content

pm2

PM2 是一个带有负载均衡功能的Node应用的进程管理器

主要特征

  1. 启动多子进程,充分使用CPU
  2. 子进程之间负载均衡
  3. 0秒重启
  4. 界面友好
  5. 提供进程交互(例如:监控) 接口

常用命令

命令说明
pm2 start app.js启动进程/应用
pm2 start app.js --name wb123重命名进程或应用
pm2 start bin/www --watch添加进程应用 watch
pm2 stop www结束进程/应用
pm2 stop all结束所有应用
pm2 delete www删除进程/应用
pm2 delete all删除所有进程
pm2 list列出所有进程/应用
pm2 describe www查看某个进程或应用的具体情况
pm2 monit查看进程或应用的资源消耗情况
pm2 logs查看 pm2 日志
pm2 logs wwww查看某个进程/应用的日志
pm2 restart www重新启动进程/应用
pm2 restart all重新启动所有进程
pm2-dev start ...启用开发调试
pm2 starup centos设置开机自启动
pm2 save保存设置

原理

使用 Cluster 模块 实现

简易版 DEMO

js
// master
var cluster = require('cluster');
var numCPUs = require('os').cpus().length;
 
if (cluster.isMaster) {
    console.log(numCPUs);
    for (var i = 0; i < numCPUs; i++) {
        var worker = cluster.fork();
    }
} else {
    require("./app.js");
}
js
// work
var http = require('http');
http.createServer(function(req, res) {
    res.writeHead(200);
    res.end("hello world\n");
}).listen(8000);

参考链接

pm2 原理

架构图

pm2: Process manager for Node apps

pm2包括Satan进程,God Deamon 守护进程、进程间的远程调用rpc,cluster等几个概念.pm2中采用God Deamon 守护进程,God进程启动后一直运行, 它相当与cluster中的Master进程,守护者worker进程的正常运行

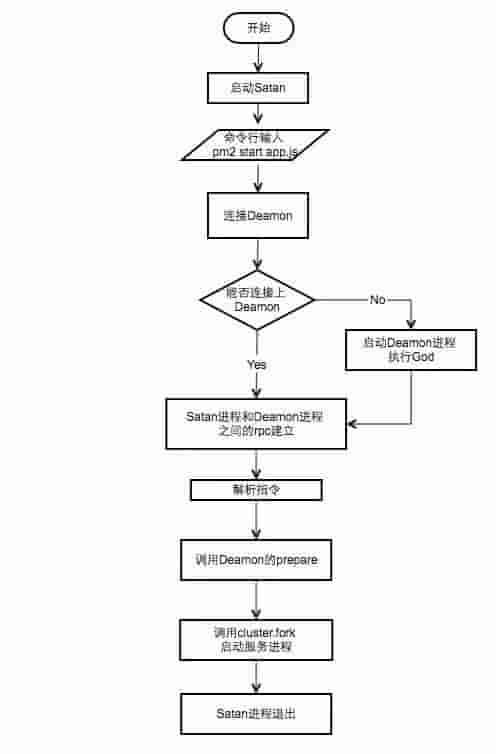
执行流程

每次命令的输入都会执行一次satan程序, 如果God进程不再运行,首先需要启动God进程, 然后耕具指令, satan通过rpc调用God中对应的方法执行相应的逻辑

依据什么重启服务

pm2 采用心跳检测查看子进程是否处于活跃状态

每隔数秒向子进程发送心跳包,子进程如果不回复,那么调用kill杀死这个进程,然后再重新cluster.fork()一个新的进程,子进程可以监听到错误事件,这个时候可以发送消息给主进程,请求杀死自己,并且主进程此时重新调用cluster.fork()一个新的子进程

拥有的能力

  1. 日志管理: 两种日志, pm2系统日志与管理的进程日志,默认会把进程的控制台输出记录到日志中
  2. 负载均衡: PM2可以通过创建共享一个服务器端口的多个子进程来扩展应用程序,这样做可以还允许以零秒停机事件重启应用程序
  3. 终端监控: 可以在终端中监控应用程序并检查应用程序运行状态(CPU使用率, 使用的内存, 请求/分钟等)
  4. SSH部署: 自动部署,避免逐个在所有服务器中进行ssh
  5. 静态服务: 支持静态服务器功能
  6. 支持开发调试模式: 非后台运行, pm2-dev start <appName>